Les bruits de couloirs et autres « fuites » sur l’iPhone 6 ne cessent de faire leur apparition, aujourd’hui la rumeur voudrait que le futur câble Lightning accompagnant l’iPhone 6 soit compatible USB 3.1 et réversible.
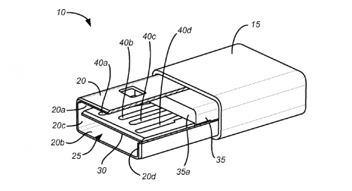
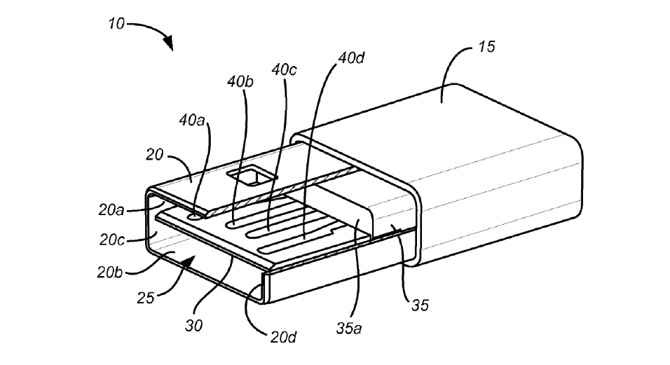
Un brevet déposé par Apple nommé « Connecteur USB réversible »
C’est le site chinois Dianxinshouji.com qui a posté ces photos soit disant en provenance de chez Foxconn. Impossible d’en savoir plus sur la véracité de l’information, mais il serait tout à fait envisageable qu’Apple veuille mettre ses câbles à jour avec l’arrivée du nouveau modèle d’iPhone. De plus, il se trouve que ces câbles ressemblent fortement à celui découvert le mois dernier dans un brevet d’Apple parlant justement d’un connecteur USB réversible, affaire à suivre donc…



7 commentaires
Le connecteur USB 3.1 est-il compatible avec la prise USB 3.0 du MacBook ?
@Jacmo
C’est simplement impossible, cette sortie USB n’est pas du tout au norme des appareils et ordinateur actuel. Il ne serai pas du tout judicieux de la par d’Apple de croire que les gens vont encore investir dans de la technologie dont il devront changer leur connecteur USB. De plus je ne connais aucun connecteur de ce genre, si apple croit qu’il va encore s’en mettre plein les poches si il sort un connecteur made un ‘apple’ et bien c’est une énorme erreur stratégique! J’espère vraiment que c’est juste une mauvaise blague, sinon le prochaine iPhone vous coûtera en tout bien plus de 1000e avec tout les frais annexe.
Un câble USB réversible !! :O sa serait tellement génial !! Fini les galères !!
@Piwing en quoi c’est génial ? J’aimerais comprendre.
Ça sert a quoi?? Je vois pas l’intérêt??
1000€ tu parles pour un 64go…..