
L’iPhone X, présenté en septembre 2017, a été le tout premier iPhone à abandonner Touch ID (le système de reconnaissance d’empreintes digitales d’Apple) au profit de Face ID (le système de reconnaissance faciale). Toutefois, Apple aurait l’idée de faire renaître Touch ID de ses cendres.
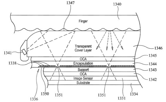
En effet, un brevet publié par Apple le 23 mai 2016 et rendu public il y a quelques jours évoque un système comportant des petits trous dans l’écran qui permet d’avoir le capteur d’empreintes digitales. Ainsi, ces petits trous seront en mesure de guider la lumière de l’écran vers le doigt de l’utilisateur, créer une image optique du doigt pour enfin créer une empreinte digitale.

Il est peu probable qu’Apple fasse un retour en arrière et proposer encore une fois Touch ID sur ses iPhone. Par ailleurs, Touch ID sous l’écran pourrait bien attirer de nombreux utilisateurs ; surtout ceux qui n’apprécient pas Face ID. Qu’en pensez-vous ?
2 commentaires
Le retour de Touch ID serait une bonne chose pour la part
Ce serait bien, qu’il vire l’encoche et Face ID