C’est un brevet particulièrement surprenant qui a été accordé à Apple le 20 janvier. Il décrit un système qui permettrait de faire évoluer l’interface d’un iDevice en fonction du point que regarde son utilisateur. Par exemple, le curseur de la souris pourrait se déplacer en suivant le regard de son propriétaire. Et le document explique même que le dispositif pourrait prévoir le nouveau point à regarder avant même que le mouvement ait eu lieu. Ainsi, même si un événement extérieur survient et distrait l’utilisateur, son attention est rapidement rappelée à l’ordre.

Un appareil Apple pourrait suivre le regard et faire évoluer son interface
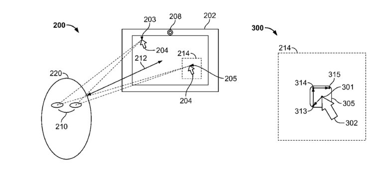
L’invention est encore à l’état de brevet mais elle existe bel et bien. Apple pourrait mettre au point un système permettant à un écran de s’adapter au regard de l’utilisateur. La caméra d’un iDevice serait assez précise pour repérer les mouvements de la rétine et ainsi savoir quel sera le prochain point vu par l’œil. Et en clin d’œil, le dispositif pourrait indiquer à la souris par exemple de se déplacer à cet endroit. « La position du point regardé par l’utilisateur pourrait être traquée, le curseur pourrait être prévenu de la position associée au regard de l’utilisateur et la position ou l’apparence visuelle du curseur pourrait être modifiée quand un événement, comme un clignement des yeux, est détecté », peut-on lire sur le brevet.
Apple veut lutter contre les illusions d’optique pour améliorer l’expérience utilisateur
Pour améliorer l’expérience de l’utilisateur et ses interactions avec les iDevices, Apple veut donc lutter contre les illusions d’optique. Le brevet semble surtout viser un phénomène, appelé effet Troxler. Le principe est que, lorsque l’on fixe un point donné, les éléments qui se situent autour ont tendance à s’estomper. Le système évoque par Apple permettrait donc de limiter cet évanouissement en remettant les objets dans le champ de vision de l’utilisateur. Le dispositif pourrait même être assez précis pour prévoir le point où se posera l’œil avant même l’intervention d’un élément extérieur. Dans tous les cas, la manœuvre se ferait en quelques micro-secondes, le temps de cligner de l’œil.
3 commentaires
Moi je ne cherche même plus a comprendre comment pourrais fonctionner un tel système…
Systeme qui verra le jour sur l’iphone 9s ? A 1600€ le 8 Go ? Lol
@Arthur : moi non plus, là ça devient vraiment complexe…