Apple dépose régulièrement des brevets, pour des produits qui ne verront peut être jamais le jour, et pour d’autres qui peuvent être inspirés de ces trouvailles. Aujourd’hui présentation d’un brevet étonnant et intéressant.
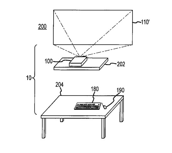
Apple a ainsi déposé un brevet concernant un ordinateur (sans écran) assez étonnant puisqu’il possède la fonction d’un projecteur vidéo intégré. Ce « vidéo projecteur » est tout de même intelligent :
– Intégration de webcam, capteurs (lumière), accéléromètre pour s’adapter à son environnement extérieur
– Ajustement et réglage de l’image projetée en fonction de cet environnement
– Pas de fils, avec une recharge par induction
Ainsi, l’ordinateur pourra certainement offrir un rendu et une qualité d’image irréprochable à ses utilisateurs. Qu’en pensez-vous ? Gadget ou projet intéressant ?

19 commentaires
Gadget intéressant…
@mael : c’est exactement ça ! 😀
Très intéressant
il serait temps d’inventer l’hologramme et l’éléctricité sans fils !
Assez intéressant
Très intéressant…
Je changerai(s) mon Mac mini!
Au top, je trouve
Alors sa j’achète mdrrr 🙂
Whouaaaw ! Trop géniale ce projet j’espère qu’il Vera le jour ! Mais je pense que son prix sera toujours dans la continuité des produit Apple…
Pas mal….. Pas mal.
Tout simplement le rêve
Et y introduire une webcam du stil de la kinecte de la Xbox one et cela pourais être tout simplement parfait pour faire de son ordi le meilleure des ordi,Tv et la meilleure des console
Très très intéressant
Pas mal du tout 🙂
Je pense que c’est un projet très intéressant qui pourrait donner naissance à une nouvelle ère, celle des sans écrans. Au début en voyant la photo j’ai cru que c’était un hologramme mais en fait non.
Mais quand même ça reste un très bon projet.
Je vais repeindre tous mes murs ! Un nouveau business en émergence ?
Intéressant …. Peu être adaptable pour d future iPhones ?
Très intéressant tant en utilisation perso que pro (présentations, etc…) et surtout dans l’enseignement. Et quand on connaît certaines exigences de Apple, on ne doute pas de la qualité de l’ensemble… (et du prix aussi)
Super Idee vraiment ,
Top